每经记者 陈荣浩 每经编辑 金冥羽 魏文艺
龙华区珺奕府项目销售现场|每经记者陈荣浩摄
“您是我们今天上午接待的第二波客户,预计接下来几天我们都将从早到晚忙于带看,这已经成为‘五一’假期的工作常态。”5月2日上午,深圳房产中介谢经理告诉《每日经济新闻》记者(以下简称每经记者)。
当天,每经记者实地走访了位于深圳市龙华片区及宝安沙井片区的中洲迎玺花园、卓越珺奕府、万福花园、雍境茗邸等项目,发现上述楼盘营销中心门外的停车位几乎全满,由于众多客户前来参观,现场的置业顾问甚至难以带领购房者完成整个看房流程。
据每经记者观察,为了把握“五一”假期的销售机遇,深圳众多楼盘选择集中开盘。在过去的十多天里,深圳已有十个楼盘预售,新推出的房源在得房率、户型设计等方面均较以往有所提升。
置业顾问和中介齐上阵
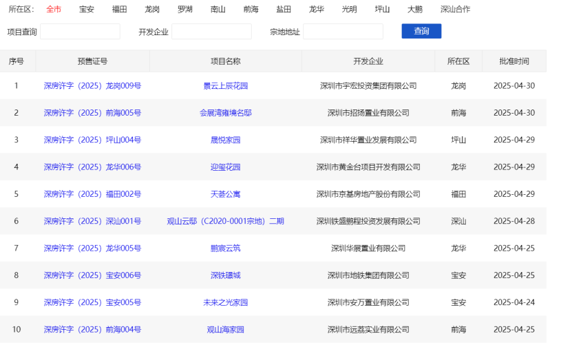
根据深圳房地产信息网的数据,近十天深圳已发放十张新房预售证,新增超过2500套商品住宅。在5月1日当天,鹏宸云筑、未来之光家园等项目同步开盘选房。例如,南山观山海项目推出的113—114平方米户型吸引了购房者连夜排队,首日销售额达到4.6亿元。
深圳近期新入市项目|深圳房地产信息网
每经记者实地走访了中洲迎玺花园、卓越珺奕府、万福花园、雍境茗邸等楼盘,发现除万福花园为现房销售外,其他项目均在加推新产品。如中洲迎玺花园主要销售三期产品,卓越珺奕府正在销售二期产品,而新近取证的雍境茗邸则是招商雍境的二期项目。
在众多楼盘集中入市的同时,开发商还推出了各种促销活动以吸引购房者。
例如,位于深圳龙岗的美盛岭尚苑项目在“五一”假期推出5套特价房,其中117.5平方米的房源最高可享受149万元的优惠。龙岗信义金御半山珑门项目则邀请了相关专家亲临现场助阵,并同步启动诚意登记。
每经记者注意到,除了各项目案场推出的多项促销活动以加速成交外,深圳市相关政府部门还举办了房屋展销活动。
5月1日至5日,由30余家房企参与的“五一好房节”活动在莲花山公园至市民中心二层连廊举行,活动覆盖了近百个房地产项目,提供了特价房源、限时折扣以及“以旧换新3.0”政策,活动首日吸引了约4万人参与。其中,包括深铁集团在内的部分企业推出了全民推荐奖励、异地安家礼遇等多项福利。
深圳部分楼盘“五一”假期推出的优惠宣传海报
“在深圳市主管部门的指导下,我们推出了以旧换新3.0政策,首批覆盖了全市18个项目。结合参与活动的项目提供的新房购买补贴,客户最高可获得超过11万元的补贴。”5月3日上午,活动参与机构乐有家方面向每经记者表示,截至5月2日,已有超过1500批换房业主申请了“卖旧房”补贴。
在中洲迎玺花园和卓越珺奕府项目现场,每经记者看到有众多看房者到访,项目周边停满了车辆。由于看房人数太多,现场的置业顾问应接不暇,以至于中介人员也被邀请协助介绍房源和带领参观。
“实在抱歉,我这边又有客户来了,稍后请中介带您参观样板间。”在中洲迎玺花园项目现场,置业顾问略带歉意地对每经记者说。
根据深圳4月楼市的成交数据,尽管与3月相比,深圳一手房和二手房整体成交量略有下降,但二手房的成交量和网签量均显著超过了5000套的市场荣枯线。
数据来源|乐有家研究中心
据乐有家研究中心统计,4月份深圳一二手住宅的网签总量达到9428套,环比下降7.9%,但同比增长33.9%。其中,一手住宅网签3695套,同比增长28.7%;二手住宅网签5733套,同比增长37.4%。
“好房子”成楼盘新卖点
今年3月底,住建部发布了《住宅项目规范》,并于5月1日正式实施。新规旨在确保住宅的安全性、舒适性、绿色化和智能化,明确了一系列住宅建设的技术标准和设计要求,包括但不限于层高、电梯配置、隔声性能、门宽、阳台防护、供暖设施等。这些规范也被业界称为“好房子”的“国家标准”。
例如,在提高居住舒适度方面,新规要求新建住宅的层高不得低于3米,比之前的标准提高了20公分。同时,降低了设置电梯的楼层要求,从“7层及以上需设电梯”调整为“4层及以上住宅设置电梯”。
深圳某楼盘设计的“风雨连廊” | 每经记者 陈荣浩 摄
每经记者在实地调查中发现,深圳近期推出的项目在得房率和户型设计等方面都有所提升。以往深圳市场的得房率一般在70%至80%之间,但近期新推出的项目普遍将得房率提升到了90%以上。
例如,中洲迎玺花园三期的实际得房率约为93%,卓越珺奕府二期的实际得房率约为92%,雍境茗邸项目的实际得房率则在96%至105%之间。
“如今,不少开发商为提升房屋得房率,会在每个卧室设计飘窗。由于飘窗不计入建筑面积,阳台仅算一半面积,通过这种方式,能够有效提高房屋的实际使用空间占比。”谢经理告诉每经记者。
此外,根据《住宅项目规范》所规定的“住宅层高不得低于3米”要求,每经记者实地走访发现,目前深圳大多数住宅项目的层高已超过2.9米,众多新建或在建的住宅项目已经实现了3米或更高的层高标准。
深圳某楼盘通过飘窗提高得房率|每经记者陈荣浩摄
目前,开发商除了通过优化项目设计来提高户型的实际得房率外,还在户型结构上进行创新,以打造更具现代感的空间体验。同时,对园林景观进行升级,营造更加吸引人的社区环境,这些做法正逐渐成为行业的普遍趋势。
广东省住房政策研究中心首席研究员李宇嘉认为,过去由于住房需求旺盛而供应有限,大家更关注的是能否拥有住房,加之土地成本高昂,开发商在一定程度上执行了标准的下限。但现在,随着住房供应的充足,人们对居住品质有了更高的期待。“
近年来,凡是配套好、功能全、户型设计好、智能化、有新型材料投入的项目,都能获得市场的欢迎,而旧模式下的产品则去化艰难。很多改善型购房者都愿意为品质高、配套好、设计优的住房产品支付更高的溢价。”李宇嘉分析称。
记者|陈荣浩
编辑|金冥羽 魏文艺 杜波
校对|卢祥勇
封面图片来源:每经记者陈荣浩摄
|每日经济新闻 nbdnews 原创文章|
未经许可禁止转载、摘编、复制及镜像等使用
文章转载自 每经网








