每经记者|任飞 每经编辑|叶峰
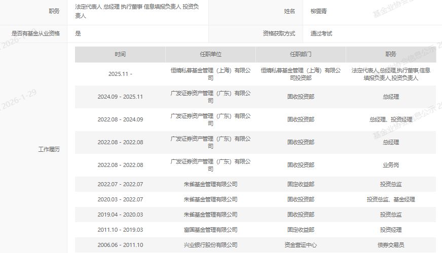
1月29日,中国基金业协会公布了最新私募基金管理人名单,结果显示,前朱雀基金固收投资总监、后转任广发资管固收部总经理的柳雯青创办了恒熵私募基金管理(上海)有限公司,在1月27日登记备案,该证券私募机构由她本人全额出资。
1月29日,银华基金发布公告,旗下基金经理李晓彬在1月27日卸任了其管理的所有产品;公司旗下另一位基金经理刘辉也于近期清仓式卸任了所有在管产品,刘辉在1月9日卸任了其管理的多只权益类基金。
柳雯青独资创办私募公司
1月29日,中国基金业协会公布了最新的私募基金管理人名单,前朱雀基金固收投资总监、后转任广发资管固收部总经理的柳雯青创办了恒熵私募基金管理(上海)有限公司,在1月27日登记备案,该证券私募机构由她本人全额出资。
来源:中国基金业协会网站
柳雯青在公募行业有近十年的投资经历,Wind统计显示,早在2015年9月,她就曾担任富国富源的基金经理,随后在朱雀基金担任公募投资部固收投资总监、基金经理,管理过朱雀安鑫回报,转战广发资管之后,管理过两只混合债券型二级基金。
从她的过往投资经历来看,债券市场是她深耕的领域,且在2024年9月20日离任最后一只管理的基金——广发资管乾利一年。尽管她在公募的从业经历不短,但在2022年一季度在管规模达到53.34亿元之后,便开始下降,到其卸任最后一只公募基金时,当时的在管基金规模仅有3.66亿元。
2022年一季度是她在管规模的高峰,当时正值国内债市风险事件较为突出的时期,一些地方性的城投债也出现了债务偿付压力增大的情况。她在2021年底时提出了重点关注票息和息差配置策略,规避信用风险,但需要关注地方债发行节奏以及宽信用超预期的冲击。
虽然2022年的债市风险有所缓和,但彼时的问题其实并没有彻底消除,许多基金经理都在季报中表示,低评级的信用债要回避。但实际上,彼时的债券基金净值仍需要依靠信用债支撑业绩,风险管控和净值萎缩之间形成了矛盾。
柳雯青在2022年第三季度开始转战广发证券资管,相比于她在朱雀安鑫回报任职期间的收益,管理的两只广发资管产品业绩明显不如前者。Wind统计显示,朱雀安鑫回报A在柳雯青管理期间的任职回报达到18.46%,年化回报率7.62%;广发资管多添利六个月两项数据为 – 0.04%和 – 0.04%,广发资管乾利一年A的两项数据为 – 2.12%和 – 1.28%。
站在当下,国内债市又面临新的问题,一方面,信用风险仍被机构高度重视,另一方面,利率债的中长端资产性价比较低,投资人面临的配置难度比之前更大了。她创办的私募由她全额出资,她也是投资负责人,负责合规风控的是前国海富兰克林基金监察稽核部的李亭。
可见,债市的投资难度依然不小,去年四季度报告中,不少基金经理也在分析当前债市的风险,强调久期控制的必要性,其根本也是在做债市投资的防守。
近期有多位公募基金经理清仓式卸任
事实上,开年来公募基金行业人事变动频繁,有的公司旗下基金经理出现清仓式卸任的情形。
1月29日,银华基金发布公告,旗下基金经理李晓彬在1月27日卸任了其管理的所有产品;公司旗下另一位基金经理刘辉也于近期清仓式卸任了所有在管产品,刘辉在1月9日卸任了其管理的多只权益类基金。
前不久,华安基金也公告称,旗下基金经理蒋璆已于1月19日清仓全部在管的9只产品,并不再转任公司其他岗位。据悉,这是一位任职超十年,年化收益率超10%的业内老将,曾是华安基金权益投资的核心力量。
1月21日,易米基金也公告称,旗下基金经理贺文奇不再担任易米开泰混合基金经理职务,并于1月20日离任,她本人已不再管理任何基金产品。Wind统计显示,她管理的易米开泰A任职回报高达53.39%,年化回报率达到29.56%。
需要注意到的是,基金经理离任对投资者、基金产品或多或少会产生不同程度的影响。对投资者而言,基金经理的离任可能导致投资者对基金产品的信任度下降,进而影响其投资决策。
有分析指出,一些投资者可能会选择赎回基金产品,导致基金规模缩小。此外,对于产品而言,新的基金经理需要一段时间来熟悉和适应基金产品的投资策略和风格,这可能导致基金产品的业绩出现波动。
在业内人士看来,这一趋势反映出公募基金行业内外部正在发生深刻的变化。一方面,行业竞争加剧、业绩压力增大、公司激励机制不足等因素导致部分基金经理选择离职;另一方面,个人职业规划调整、市场环境变化以及行业“去明星化”趋势也加速了基金经理的流动。
封面图片来源:每经媒资库
文章转载自 每经网


